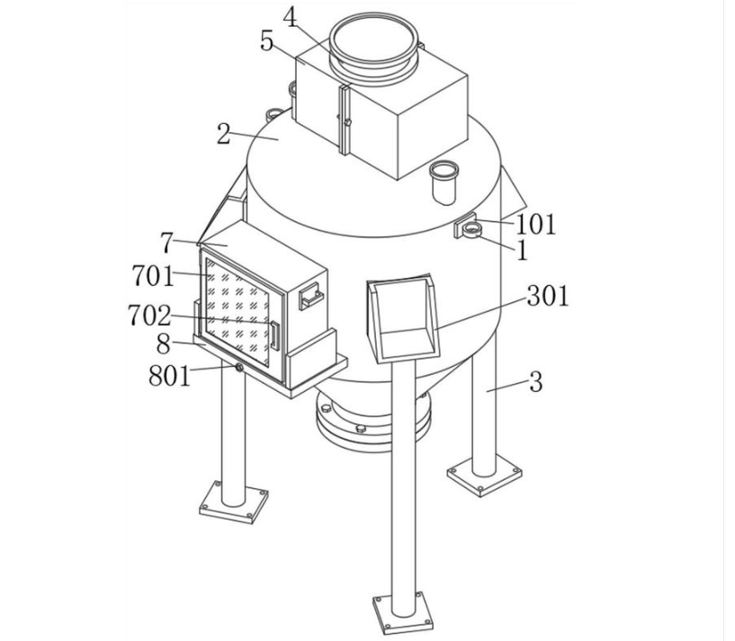
ഷാൻഡോംഗ് യിഞ്ചി എൻവയോൺമെൻ്റൽ പ്രൊട്ടക്ഷൻ എക്യുപ്മെൻ്റ് കമ്പനി, ലിമിറ്റഡ്, പൊടി നീക്കം ചെയ്യുന്ന സാങ്കേതികവിദ്യയിൽ ഗണ്യമായ പുരോഗതി അടയാളപ്പെടുത്തുന്ന "സീൽഡ് സ്ട്രക്ചർ ഡിറ്റാച്ചബിൾ ബാഗ് ഫിൽട്ടർ" എന്ന പേരിൽ ഒരു തകർപ്പൻ യൂട്ടിലിറ്റി മോഡൽ പേറ്റൻ്റ് പുറത്തിറക്കി. മെച്ചപ്പെടുത്തിയ സൗകര്യവും കാര്യക്ഷമതയും ......
കൂടുതൽ വായിക്കുകപരിസ്ഥിതി സംരക്ഷണത്തെക്കുറിച്ചുള്ള ആഗോള അവബോധം വർദ്ധിച്ചുകൊണ്ടിരിക്കുന്നതിനാൽ, വ്യാവസായിക ഉൽപാദനത്തിൽ പരിസ്ഥിതി സൗഹൃദ ഉപകരണങ്ങളുടെ ആവശ്യകതയും വർദ്ധിച്ചുകൊണ്ടിരിക്കുകയാണ്. ഷാൻഡോംഗ് യിഞ്ചി പരിസ്ഥിതി സംരക്ഷണ ഉപകരണ കമ്പനി, ലിമിറ്റഡ് ഈ പ്രവണതയ്ക്കൊപ്പം നൂതനമായ പരിസ്ഥിതി സംരക്ഷണ ഉപകരണങ്ങളുടെ ഒരു പരമ്പര പ......
കൂടുതൽ വായിക്കുകകാര്യക്ഷമവും സുസ്ഥിരവുമായ ഉൽപ്പാദനത്തിനായി ആധുനിക വ്യവസായങ്ങളുടെ ആവശ്യങ്ങൾ നിറവേറ്റുന്നതിനായി രൂപകൽപ്പന ചെയ്തിരിക്കുന്ന പുതിയ പാരിസ്ഥിതിക ഉപകരണങ്ങളുടെ ഒരു ശ്രേണി ഷാൻഡോംഗ് യിഞ്ചി പരിസ്ഥിതി സംരക്ഷണ ഉപകരണ കമ്പനി, ലിമിറ്റഡ് അടുത്തിടെ പുറത്തിറക്കി. വിവിധ മേഖലകളിലുടനീളമുള്ള ബിസിനസുകൾക്കായി വൈവിധ്യമാർന്ന ......
കൂടുതൽ വായിക്കുകപരിസ്ഥിതി സംരക്ഷണത്തിലും ഊർജ കാര്യക്ഷമതയിലും ആഗോള ശ്രദ്ധ വർദ്ധിച്ചുകൊണ്ടിരിക്കുന്നതിനാൽ, പ്രമുഖ സാങ്കേതിക വിദ്യയ്ക്കും കാര്യക്ഷമമായ പരിഹാരങ്ങൾക്കും നന്ദി, വ്യാവസായിക മേഖലയിൽ ഒഴിച്ചുകൂടാനാവാത്ത പങ്കാളിയായി ഷാൻഡോംഗ് യിഞ്ചി എൻവയോൺമെൻ്റൽ പ്രൊട്ടക്ഷൻ എക്യുപ്മെൻ്റ് കമ്പനി ലിമിറ്റഡ് ഉയർന്നു.
കൂടുതൽ വായിക്കുകഷാൻഡോംഗ് യിഞ്ചി എൻവയോൺമെൻ്റൽ പ്രൊട്ടക്ഷൻ എക്യുപ്മെൻ്റ് കമ്പനി ലിമിറ്റഡ് (SDYC) അതിൻ്റെ തകർപ്പൻ "റൂട്ട്സ് ബ്ലോവർ വിത്ത് വിൻഡ് പ്രഷർ ഡിറ്റക്ഷൻ സ്ട്രക്ചർ" എന്നതിനുള്ള പേറ്റൻ്റ് ഉറപ്പാക്കിക്കൊണ്ട് വ്യാവസായിക നവീകരണത്തിൻ്റെ അതിരുകൾ വീണ്ടും ഉയർത്തി. ന്യൂമാറ്റിക് സിസ്റ്റങ്ങളെ ആശ്രയിക്കുന്ന വ്യവസായങ്ങൾക്ക്......
കൂടുതൽ വായിക്കുകനൂതനമായ മെറ്റീരിയൽ ഹാൻഡ്ലിംഗ് സൊല്യൂഷനുകളുടെ മുൻനിര ദാതാവായ ഷാൻഡോംഗ് യിഞ്ചി എൻവയോൺമെൻ്റൽ പ്രൊട്ടക്ഷൻ എക്യുപ്മെൻ്റ് കമ്പനി ലിമിറ്റഡ് (SDYC), അതിൻ്റെ ഏറ്റവും പുതിയ മുന്നേറ്റമായ "സിലോ കൺവെയർ പമ്പ് വിത്ത് ഡ്യുവൽ ചാനലിന്" പേറ്റൻ്റ് നേടിയതായി അറിയിക്കുന്നതിൽ സന്തോഷമുണ്ട്.
കൂടുതൽ വായിക്കുകഷാൻഡോംഗ്, ചൈന - സുസ്ഥിര വ്യാവസായിക പരിഹാരങ്ങളിലെ മുൻനിരയായ ഷാൻഡോംഗ് യിഞ്ചി പരിസ്ഥിതി സംരക്ഷണ ഉപകരണ കമ്പനി ലിമിറ്റഡ് (SDYC), അതിൻ്റെ നൂതനമായ "പരിസ്ഥിതി സംരക്ഷണ പ്രവർത്തനത്തോടുകൂടിയ സൈലോ കൺവെയർ പമ്പിന്" ഒരു പുതിയ പേറ്റൻ്റ് അനുവദിക്കുന്നതിൽ സന്തോഷമുണ്ട്.
കൂടുതൽ വായിക്കുകഷാൻഡോംഗ്, ചൈന - ന്യൂമാറ്റിക് കൺവെയിംഗ് ടെക്നോളജിയിലെ മുൻനിരയിലുള്ള ഷാൻഡോംഗ് യിഞ്ചി എൻവയോൺമെൻ്റൽ പ്രൊട്ടക്ഷൻ എക്യുപ്മെൻ്റ് കമ്പനി ലിമിറ്റഡ് (SDYC), അതിൻ്റെ ഏറ്റവും പുതിയ കണ്ടുപിടുത്തമായ "Silo Pneumatic Conveying Pump with Wear- ന് പേറ്റൻ്റ് ലഭിച്ചതായി പ്രഖ്യാപിക്കുന്നതിൽ അഭിമാനിക്കുന്നു. പ്രതിരോധ വാ......
കൂടുതൽ വായിക്കുക